Tốp 5 giải pháp công nghệ , sản phẩm giảm thiểu ô nhiễm Sông Tô Lịch
Sông Tô Lịch chảy qua địa phận 6 quận, huyện: Ba Đình, Cầu Giấy, Đống Đa, Thanh Xuân, Hoàng Mai, Thanh Trì. Sông Tô Lịch cùng với sông Kim Ngưu, sông Lừ và sông Sét đã tạo nên hệ thống tiêu thoát nước chính của TP. Hà Nội. Tuy nhiên, từ nhiều năm nay, dưới sức ép của quá trình đô thị hóa, quy hoạch xây dựng không đồng bộ cùng với sự thiếu ý thức của người dân sống ven sông đã làm cho con sông từ một con sông đẹp, Tô Lịch đã trở thành nơi chứa nước thải của thành phố - một dòng sông "chết".
Vậy, lựa chọn giải phát thiết bị công nghệ nào để cứu sống Sông Tô Lịch? Tác giả tổng hợp và giới thiệu bạn đọc TOP 5 sản phẩm công nghệ cần thiết cho giảm thiểu ô nhiễm Sông Tô lịch
-
Bể tự hoại và bể tự hoại cải tiến BASTAF
Bể tự hoại là một phần chính của Bể tự hoại, Hệ thống tự hoại là hệ thống xử lý nước thải qui mô nhỏ, thường được áp dụng đối với những vùng cách xa hệ thống xử lý nước thải của nhà nước hoặc các công ty chuyên xử lý nước thải.
Hệ thống tự hoại là một loại phương pháp xử lý nước thải tại chỗ. Ở Bắc Mỹ, khoảng 25% dân cư sinh sống trong các vùng ngoại ô, các thị trấn nhỏ cũng như các vùng nông thông sử dụng bể tự hoại. Ở châu Âu, nói chung thì bể tự hoại chỉ còn được sử dụng ở các vùng nông thôn. Bể tự hoại cần diện tích tháo nước lớn nên chúng không còn phù hợp với mật độ xây dựng dày đặc ở các thành thị nữa.
Thuật ngữ "tự hoại" liên quan đến quá trình phân hủy do các vi khuẩn kị khí gây ra. Chúng phân hủy và khoáng hóa các chất thải được đưa tới bể tự hoại. Bể tự hoại có thể đi kèm với bộ phận xử lý nước thải tại chỗ như màng lọc sinh học hay hệ thống hiếu khí.
Việc bảo trì phải được tiến hành định kì để loại bỏ chất rắn lắng dưới đáy hầm vì chúng có thể gây đầy hầm và làm giảm hiệu suất xử lý. Theo cơ quan bảo vệ môi trường của Mỹ thì chủ căn nhà phải có trách nhiệm bảo trì hầm tự hoại của mình. Nếu như không tuân thủ thì họ phải chịu chi phí rất đắt để để sửa chữa khi hầm bị đầy và khi xảy ra sự cố tắc nghẽn hệ thống dẫn dòng thải
Tại Việt Nam, bể tự hoại đã được nghiện cứu cải tiến thành bể cải tiến Bastaf (XEM THÊM TẠI ĐÂY)
Một bể tự hoại bao gồm một hoặc nhiều khoang chứa được làm bằng bê thông hoặc nhựa Composite với dung tích từ 20 đến 10.000 lít. Cuối mối khoang có một đầu ống dẫn nước thải nhỏ rồi sau đó nối với ống dẫn vào một hầm rút. Chúng được nối với nhau bằng đầu nối chữ T để đảm bảo chất lỏng đi vào và ra dễ dàng không bị bám dính trên bề mặt. Ngày nay người ta thiết kế mỗi khoang chứa sừ dụng kết hợp hai ngăn mỗi ngăn có một lỗ thoát và được ngăn giữa bởi vách ngăn nằm giữa đáy và nắp khoang chứa. Khi chất lỏng chảy vào ngăn thứ nhất tại đây chất rắn tự lắng xuống và xuất hiện lớp váng bọt nổi lên. Chất rắn bị lắng xuống sẽ bị phân hủy kị khí. Sau khi ngăn thứ nhất đầy thì chất lỏng sẽ tràn lên ngăn thứ hai nằm bên trên, quá trình lắng đọng tiếp tục diễn ra và lượng nước thừa tràn ra sau khi đầy ngăn thứ hai sẽ được dẫn vào hầm rút. Quá trình thấm nước tại hầm rút phụ thuộc vào lỗ hỗng của đất tại khu vực xây dựng. Cần tiến hành thí nghiệm thấm nước để đảm bảo sự thoát nước của đất tại khu vực dự định thi công.

Chất dơ bẩn còn lại trong nước ra hầm rút sẽ bị giữ lại và loại trừ trong đất nhờ vào quá trình bốc hơi, sự hấp thụ của rễ thực vật hoặc sự tiếp nhận của nước ngầm và nước mặt. Một hệ thống ống được lắp đặt trong các rãnh được phủ đầy bởi đá có nhiệm vụ tháo nước ra môi trường thông qua các lỗ tháo nước. Kích thướt của hầm rút tỉ lệ thuận với lượng nước cần tháo ra và tỉ lệ nghịch với độ lỗ hổng của hầm rút. Toàn bộ hệ thống tự hoại có thể vận hành nhờ trọng lực, đối với những nơi phụ thuộc vào địa hình thì có thể sử dụng thêm máy bơm. Để thiết kế hệ thống tự hoại chắc chắn cần có thêm ống xiphon hoặc thiết bị khác cùng chức năng để tăng thể tích cũng như tốc độ dòng chảy đến hầm rút. Điều này giúp cho hệ thống ống tháo khô luôn trọng trạng thái đầy nước và kéo dài tuổi thọ của đường ống vì nó hạn chế được quá trình tắc nghẽn.
Nếu hệ thống tự hoại được thiết kế tốt với bê tông, sợi thủy tinh hoặc nhựa thì chúng có thể có tuổi thọ lên đến 50 năm
-
Bể tách mỡ gia đình và nhà hàng (VINACEE Profile)
Bể tách mỡ / bẫy mỡ / bể tách dầu mỡ / thùng lọc mỡ: Là thiết bị dùng để tách dầu mỡ thừa sau quá trình sơ chế, vệ sinh ra khỏi nước thải. Được bố trí dưới chậu rữa trong bếp ăn của gia đình, căng tin, nhà hàng, khách sạn ... nhằm ngặn chặn dầu mỡ thừa dính bám gây tắc đường ống và bảo vệ môi trường khi dầu mỡ được thải trực tiếp ra hệ thống thoát nước, kênh, hồ.

Những tác hại của dầu mỡ đối với môi trường và đối với cuộc sống của chúng ta! Dầu mỡ là chất không hòa tan trong nước và rất khó phân hủy trong tự nhiên. Nên khi chúng đi vào trong hệ thống thoát nước của tòa nhà hay bếp nhà hàng sẽ làm tắc hệ thống đường ống thoát nước của các căn hộ, hơn thế còn làm giảm hiệu quả xử lý thải của các công trình xử lý nước thải cho tòa nhà, khi xả thải ra môi trường gây ô nhiễm môi trường, cảnh quản sinh thái.
-
Hệ thống hố ga thoát nước thông minh
Hố ga thoát nước là một hệ thống được cắt ngang giữa các đường ống thoát nước, là nơi tập trung rác thải, luân chuyển nước, giúp cho hệ thống lắng chất thải được sâu hơn, tăng dòng chảy hiệu quả và giúp cho nước được sạch hơn khi đưa ra hệ thống ống cống thành phố
Công dụng hố ga thoát nước Làm giảm tình trạng tắc nghẽn đường ống cống, tăng hiệu quả thoát nước thải, ngoài ra nó còn có chức năng ngăn mùi rất hiệu quả. Đối với những công trình lớn, hệ thống hố ga thu nước lun đóng vai trò rất qua trọng, làm sạch môi trường sống, dễ dàng xử lí chất thải và tiện cho việc thông tắc, nạo vét bảo dưỡng đường ống thường xuyên.

Cấu tạo hố ga thoát nước mưa và ngăn mùi. Hố ga là một trong những công trình quan trọng đối với hệ thống thoát nước nhà ở và thành phố, một hố ga hoàn thiện bao gồm các bộ phận sau đây:
-
Hệ thống xử lý nước thải, kiểm soát ô nhiễm kênh mương, sông hồ MBA
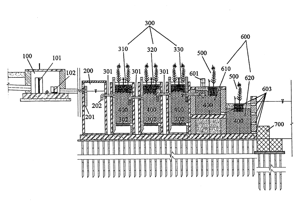
Hệ thống xử lý nước thải theo sáng chế có ưu điểm là nguyên lý đơn giản, có thể dễ dàng kiểm soát nước thải và nước mưa, dễ dàng tiếp cận các ngăn bể để hút bùn, nước chảy tràn bề mặt một cách linh hoạt.
Ô nhiễm nước thải khiến các kênh mương, sông ngòi ở Hà Nội trở thành những “điểm chết” gây mất mỹ quan đô thị và ảnh hưởng nghiêm trọng tới cuộc sống của người dân. Theo Sở Xây dựng Hà Nội, cả Thủ đô hiện mới chỉ có 7 nhà máy xử lý nước thải, đáp ứng được 22% số lượng nước thải ra hằng ngày, còn tới 78% đang được xả thẳng ra môi trường.
Không chỉ đơn cử thành phố có số lượng và mật độ cư dân đông bậc nhất rơi vào tình trạng như vậy, mà đây là tình trạng chung ở hầu hết các đô thị: nước thải sinh hoạt xả thẳng xuống mà không qua xử lý. Hiện nay, tỷ lệ bao phủ của hệ thống thoát nước ở các đô thị chỉ đạt khoảng 50% và đa phần đã xuống cấp, ít khi được duy tu bảo dưỡng. Cũng chỉ mới có khoảng 15% nước thải đô thị được xử lý, còn lại đều xả vào kênh, mương, sông, hồ nội thành (nguồn nước mặt), qua nhiều điểm tập trung và phân tán dọc chiều dài kênh, mương, sông, hồ, gây ô nhiễm các nguồn nước này. Nhưng sẽ còn rất lâu nữa các đô thị Việt Nam mới có đủ tài chính và điều kiện để xây dựng đủ các tuyến cống thu gom và truyền dẫn nước thải, các tuyến cống bao dọc các kênh, mương, sông, hồ nội thành, thu gom nước thải và dẫn về các Trạm xử lý tập trung để làm sạch trước khi xả ra nguồn nước. Trong khi đó, chi phí làm sạch các nguồn nước mặt bị ô nhiễm quá rất lớn, đơn cử, ước tính để làm sạch toàn bộ sông Tô Lịch cần chi phí 1,9 triệu đồng/m3 nước thải.
Trong bối cảnh đó, giải pháp khả thi nhất là kiểm soát nguồn thải dọc các nguồn nước mặt bằng các hệ thống chi phí thấp, phân tán với công nghệ đơn giản và có thể tích hợp vào hạ tầng hiện có, từng bước tạo thành hệ thống xử lý nước thải sinh hoạt.
Mới đây, GS.TS Nguyễn Việt Anh, Viện trưởng Viện Khoa học và Kỹ thuật Môi trường, Trường Đại học Xây dựng đề xuất giải pháp nhằm kiểm soát ô nhiễm các nguồn nước mặt này bằng “Hệ thống xử lý nước thải, kiểm soát ô nhiễm kênh mương, sông hồ” và đã được Cục Sở hữu trí tuệ, Bộ Khoa học và Công nghệ cấp bằng bảo hộ độc quyền sáng chế số 1-0021678 công bố ngày 25/9/2019.
Theo tác giả sáng chế, hệ thống này có ưu điểm là nguyên lý xử lý nước thải đơn giản, có thể dễ dàng kiểm soát nước thải và nước mưa, dễ dàng tiếp cận các ngăn bể để hút bùn, nước chảy tràn bề mặt một cách linh hoạt. Đặc biệt là hệ thống này có chi phí xây dựng thấp, thời gian thi công ngắn, có thể sử dụng ngay các ống cống bê tông cốt thép đúc sẵn để làm các ngăn xử lý của hệ thống.

Trong bối cảnh ở Việt Nam, ngành công nghiệp môi trường vẫn còn đang ở giai đoạn ‘sơ khai’ - còn rất thiếu các giải pháp công nghệ, các thiết bị và công trình đáp ứng đòi hỏi từ thực tiễn đời sống, thì việc nghiên cứu đưa ra các giải pháp làm sạch nước thải tại chỗ bằng các công nghệ vừa đơn giản, vừa có chi phí xây dựng và vận hành thấp là một hướng giải quyết hợp lý, khả thi và rất cần thiết.
-
Thiết bị Công nghệ Nano - Bioreactor
Vừa qua, Công ty cổ phần Tập đoàn Môi trường Nhật Việt (JVE) đã gửi công văn báo cáo tới Thành ủy, UBND TP Hà Nội về việc đề xuất "giải pháp tổng thể" cải tạo sông Tô Lịch trở thành "Công viên lịch sử - văn hóa - tâm linh Tô Lịch" bằng nguồn vốn từ phía Nhật Bản.
Theo đó, giải pháp được JVE đưa ra là vẫn sử dụng công nghệ Nano - Bioreactor, kè dọc hai bên bờ, giải quyết toàn bộ các vấn đề như nguồn gây ra mùi hôi thối, xử lý tầng bùn đáy; làm sạch nước đã bị ô nhiễm trong lòng sông, đặc biệt là xây dựng hệ thống thoát lũ chống ngập đặt ngầm sâu dưới lòng sông.
Đề án này sau khi trình UBND Thành phố Hà Nội, đã nhận được sự quan tâm đặc biệt của dư luận cũng như nhiều chuyên gia trong lĩnh vực sinh thái, cảnh quan môi trường.

Nhiều chuyên gia bày tỏ sự lạc quan, tin tưởng vào đề án cải tạo sông Tô Lịch thành công viên sẽ thành công. Qua đó giải quyết tình trạng ô nhiễm nghiêm trọng kéo dài hàng chục năm nay tại dòng sông này. Đồng thời biến nơi đây thành địa điểm thu hút khách du lịch, tạo nguồn thu cho thành phố.
ThS Nguyễn Hữu Tuyên xin được chia sẻ và giới thiệu cùng bạn đọc
Mọi chi tiết liên hệ: CTCP Kỹ thuật Môi trường và Xây dựng VINACEE Việt Nam
Địa chỉ: Số 2/1295, Giải Phóng, Hoàng Liệt, Hoàng Mai, Hà Nội
Điện thoại hotline: 0942226986 /email: vinaceeco@gmail.com

Viết bình luận